Physics 212 James Scholar Assignment #2
Due:
The problems are to be done on paper, showing all work. Again, the presentation should be neat, legible, and easy to follow.
Your assignments will all be submitted using Gradescope.
Part I
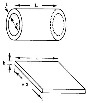
A simple model of a nerve cell (axon) is a hollow cylinder of length L, inner diameter “a”, and membrane thickness “b” (left figure). The membrane, which is similar in structural and electrical properties to olive oil, is a dielectric, which electrically (and structurally) separates the inside and outside of the axon.

(a) Treat the cell as a hollow cylinder of length L = 1 cm, a = 2 μm (2 microns), b = 5 nm, and a dielectric constant of the membrane , κ = 3. What is the capacitance C? Calculate this two ways: i. Calculate it correctly, for the cylindrical geometry shown above. ii. Approximate it as a parallel plate capacitor, by “cutting” the axon open and laying it flat, as shown in the bottom sketch. [Note: the longest nerve cell in your body, the Sciatic nerve, runs from your lower spine to your foot, roughly 2 ½ - 3 feet in length!]
In experiments on nerve axon (and muscle fibers too) cells two electrodes are inserted into the cell (axon) close to each other. One electrode serves as a signal generator of rectangular pulses. The other serves as a monitor/detector of the cell response to the signal pulses. The electrical characteristics of the cell in such an experiment may be represented by the equivalent circuit illustrated in the left figure, where C is the capacitance of the cell membrane, R is the resistance of the cell membrane, the left voltage source is the signal electrode, and the voltmeter (on the right) is the receiver electrode. Note that since the left capacitor will basically charge almost instantly (the voltage across it equals the voltage from the generator), we can simplify the circuit to that on the right.


(b) Use the response graph below to estimate the time constant of the cell.

(c) Using the result of parts (a) and (b), calculate the value of the resistance, R. Note: this is the resistance of the membrane to the flow of ions. You can now see how effective an oily-membrane is in preventing ion flow – this is essential to life because the ion concentration inside a cell and outside a cell is very different. Furthermore, life uses the energy stored in the capacitance of cells to do all sorts of things, including making “action potentials” in nerves (which is you thinking) and making a high-energy compound called ATP (which is the “food” of the cell).
If the potential difference (voltage) across the membrane is 70mV (a typical value), find:
(d) the electric field through the membrane. Is this a relatively small or large value? Compare to dielectric strength of air, approximately 3 million volts/m. Is the dielectric strength of the membrane greater than or less than that of air?
(e) the charge on each side of the membrane (to account for this typical potential across the cell membrane).
(f) This charge is caused by a slight imbalance between the number of positive ions (either K+ and/or Na+) and the number of negative ions (primarily Cl- ions) inside the cell. First assume there were no charge imbalance at all. If the cell has 150 mM KCl inside (a physiologically reasonable number; “mM” = millimolar = 10-3 moles/liter), calculate the total number of K’s (which is then also the total number of Cl’s) inside one cell. Next from (e) calculate how many more K+ than Cl- there actually are in the cell.
(g) Express your results from (f) as a fractional imbalance, i.e., (#K+ - #Cl-)/#KCl.
All of our nerve action – our ability to think, feel, hear, see, move…everything!… relies on this exquisite control of ion (electrical) imbalance.
Part 2
Do a little research, and write a short paragraph about “iontophoresis”, including a basic description of how it works, and 3 possible applications.